вконтакте

Контактный телефон: +7 (981) 121-46-93, +7 (800) 200-90-76 , Email: parts-katalog@yandex.ru, где купить

 
 

  Логин:

Пароль:

Регистрация

www.partskatalog.ru Все каталоги Запчасти Mercury Запчасти Suzuki Запчасти Tohatsu Запчасти Honda Контакты



УВАЖАЕМЫЕ КЛИЕНТЫ!
C 31 ОКТЯБРЯ 2025 ПО 10 НОЯБРЯ 2025 ГОДА РАБОТАТЬ НЕ БУДЕМ




Все разделы каталога запчастей на этот двигатель

назад Раздел:   вперёд

вернуться к списку узлов и деталей

ДЕТАЛИРОВКА ДЛЯ МОДЕЛИ: EVINRUDE E10ELEIR 1991

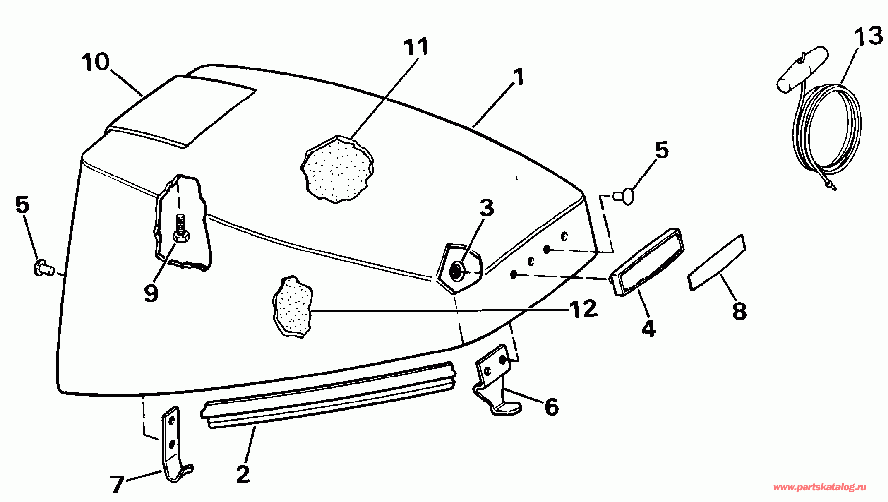
КРЫШКА ДВИГАТЕЛЯ (КАПОТ) - JOHNSON | ENGINE COVER - JOHNSON;


 EVINRUDE E10ELEIR 1991  - Johnson

Номер на
рисунке
АртикулНаименованиеКол-во
на складе
Цена
1 0433730

Крышка двигателя (капот) в сборе.. 9.9 Models (ENGINE COVER ASSY.. 9.9 Models)

нет в наличии, поставок нет
1 0433860

   (последний код) COVER AY,MOTOR-UPR

нет в наличии, поставок нет
1 0433860

Крышка двигателя (капот) в сборе.. 10SEL Models (ENGINE COVER ASSY.. 10SEL Models)

нет в наличии, поставок нет
1 0433730

   (последний код) COVER AY,MOTOR-

нет в наличии, поставок нет
1 0433731

Крышка двигателя (капот) в сборе.. 15 Models (ENGINE COVER ASSY.. 15 Models)

нет в наличии, поставок нет
1 0434553

Крышка двигателя (капот) в сборе.. TJ Models (ENGINE COVER ASSY.. TJ Models)

нет в наличии, поставок нет
1 0433309

   (последний код) COVER AY,MOTOR-UPR

нет в наличии, поставок нет
2 0331867

Резинка капота двигателя (SEAL, Engine cover)

нет в наличии, поставок нет
2 0332823

   (последний код) SEAL,MOTOR COVER

нет в наличии, поставок нет
3 0317223

Гайка, Push-on (NUT, Push-on)

нет в наличии, поставок нет
4 0335809

APPLIQUE, Front (APPLIQUE, Front)

нет в наличии, поставок нет
4 0334864

Рама, Front. TJ Models (FRAME, Front. TJ Models)

нет в наличии, поставок нет
5 0318836

Заклёпка, Крючок to Крышка (RIVET, Hook to cover)

нет в наличии, поставок нет
6 0396886

Крючок спереди (Includes № 5) (HOOK, Front (Includes No. 5))

нет в наличии, поставок нет
7 0391124

Крючок, Rear (Includes № 5) (HOOK, Rear (Includes No. 5))

нет в наличии, поставок нет
7 0318881

   (последний код) HOOK

нет в наличии, поставок нет
8 0335806

Пластина, Applique, front. 9.9 Models 10SEL Models (PLATE, Applique, front. 9.9 Models 10SEL Models)

нет в наличии, поставок нет
8 0335808

Пластина, Applique, front. 15 Models (PLATE, Applique, front. 15 Models)

нет в наличии, поставок нет
8 0335055

Пластина, Рама, front. TJ Models (PLATE, Frame, front. TJ Models)

нет в наличии, поставок нет
9 0330838

Винт (SCREW)

нет в наличии, поставок нет
9 0329268

   (последний код) SCREW

нет в наличии, поставок нет
10 0331134

Рукоятка наклона (TILT HANDLE)

нет в наличии, поставок нет
11 0335597

SOUND BLANKET, Top (SOUND BLANKET, Top)

нет в наличии, поставок нет
12 0335598

SOUND BLANKET, Side (SOUND BLANKET, Side)

нет в наличии, поставок нет
13 0433824

Шнур стартера. TJ Models (STARTER ROPE. TJ Models)

нет в наличии, поставок нет
0434298 0434298

OWNERS ручной, Jo.. Not Shown 4-Language ручной (English, French, Spanish, Portuguese) (OWNERS MANUAL, Jo.. Not Shown 4-Language Manual (English, French, Spanish, Portuguese))

нет в наличии, поставок нет
0434298 8011890

   (последний код) OM10/15 434298

нет в наличии, поставок нет
0434299 0434299

OWNERS ручной, Jo.. Not Shown 7-Language ручной (German, Italian, Swedish, Dutch, Danish, Norwegian, Finnish) (OWNERS MANUAL, Jo.. Not Shown 7-Language Manual (German, Italian, Swedish, Dutch, Danish, Norwegian, Finnish))

нет в наличии, поставок нет
0434306 0434306

OWNERS ручной, Jo.. Not Shown 4-Language ручной (English, French, Spanish, Portuguese) TJ Models (OWNERS MANUAL, Jo.. Not Shown 4-Language Manual (English, French, Spanish, Portuguese) TJ Models)

нет в наличии, поставок нет
0434306 8011888

   (последний код) OM10/15RE434306

нет в наличии, поставок нет
0434316 0434316

OWNERS ручной, Jo.. Not Shown 7-Language ручной (German, Italian, Swedish, Dutch, Danish, Norwegian, Finnish) TJ Models (OWNERS MANUAL, Jo.. Not Shown 7-Language Manual (German, Italian, Swedish, Dutch, Danish, Norwegian, Finnish) TJ Models)

нет в наличии, поставок нет
0434735 0434735

Комплект наклеек. Not Shown 9.9 Models (DECAL SET. Not Shown 9.9 Models)

нет в наличии, поставок нет
0434739 0434739

Комплект наклеек. Not Shown 15 Models (DECAL SET. Not Shown 15 Models)

нет в наличии, поставок нет
0434736 0434736

Комплект наклеек. Not Shown 10SEL Models (DECAL SET. Not Shown 10SEL Models)

нет в наличии, поставок нет
0434737 0434737

Комплект наклеек. Not Shown TJ Models (DECAL SET. Not Shown TJ Models)

нет в наличии, поставок нет
0434737 0434040

   (последний код) DECAL AY,SET

нет в наличии, поставок нет
evinrude

Время выполнения запроса 2.60315990448 сек.


 
 

данный сайт носит информационный характер и не является публичной офертой

склад запчастей для водомоторной техники