вконтакте

Контактный телефон: +7 (981) 121-46-93, +7 (800) 200-90-76 , Email: parts-katalog@yandex.ru, где купить

 
 

  Логин:

Пароль:

Регистрация

www.partskatalog.ru Все каталоги Запчасти Mercury Запчасти Suzuki Запчасти Tohatsu Запчасти Honda Контакты



УВАЖАЕМЫЕ КЛИЕНТЫ!
C 31 ОКТЯБРЯ 2025 ПО 10 НОЯБРЯ 2025 ГОДА РАБОТАТЬ НЕ БУДЕМ




Все разделы каталога запчастей на этот двигатель

назад Раздел:  

вернуться к списку узлов и деталей

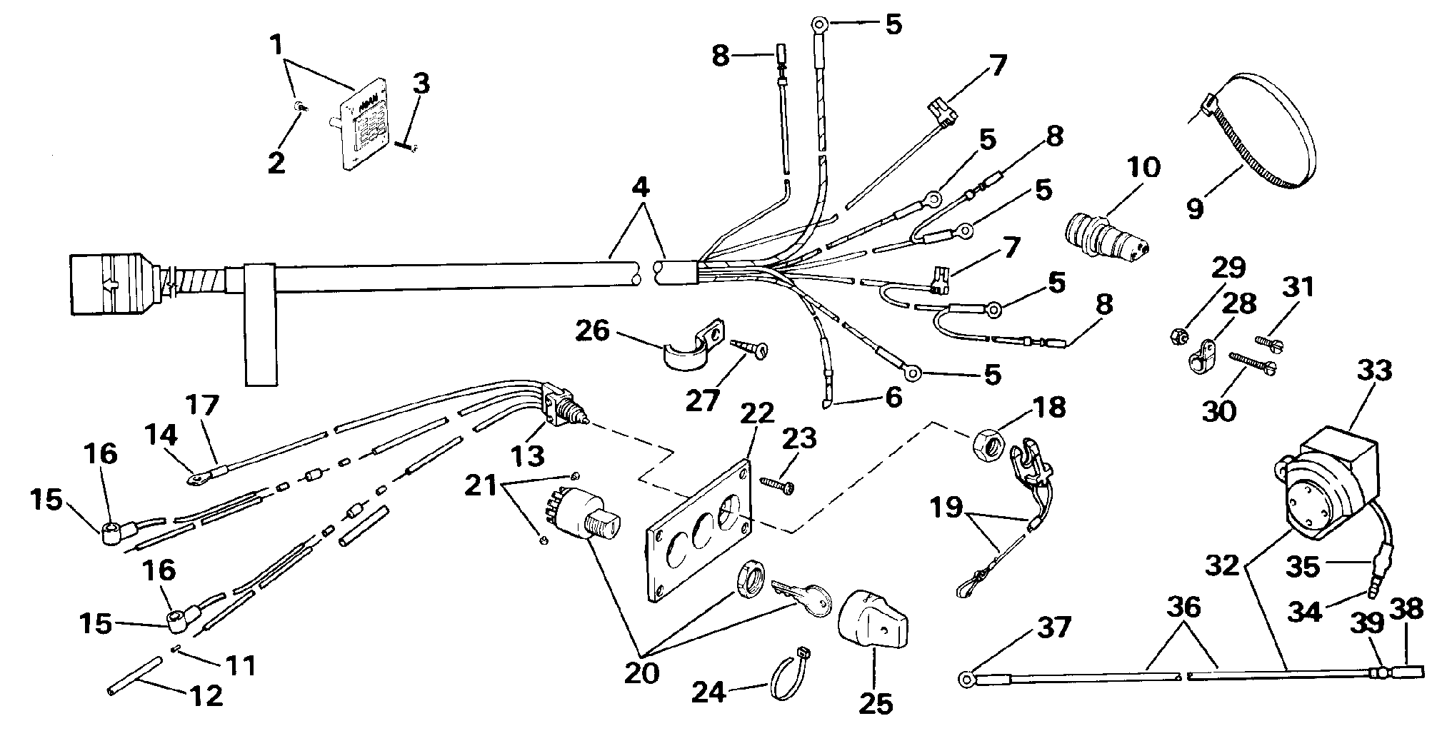
ДЕТАЛИРОВКА ДЛЯ МОДЕЛИ: EVINRUDE VE225PXESS 1990

WIКОЛЬЦО KIT - DUAL ДВИГАТЕЛЬ 225CX | WIRING KIT - DUAL ENGINE 225CX;


Подвесной двигатель Эвинруд VE225PXESS 1990  - Dual Двигатель 225cx - Dual Engine 225cx

Номер на
рисунке
АртикулНаименованиеКол-во
на складе
Цена
0174962 0174962

WIКольцо KIT, Dual Двигатель, 28 фут Not Shown (WIRING KIT, Dual engine, 28 ft. Not Shown)

нет в наличии, поставок нет
0174962 0174843

   (последний код) WIRING-KIT

нет в наличии, поставок нет
1 0174970

BEZEL KIT, Horn (BEZEL KIT, Horn)

нет в наличии, поставок нет
1 0126090

   (последний код) BEZEL,HORN OEM

нет в наличии, поставок нет
2 0124880

Винт, Horn to bezel (SCREW, Horn to bezel)

нет в наличии, поставок нет
3 0125308

Винт, Bezel Креплениеing (SCREW, Bezel mounting)

нет в наличии, поставок нет
4 0174967

INSTRUMENT Кабели в сборе., 28 ft (INSTRUMENT CABLE ASSY., 28 ft)

нет в наличии, поставок нет
4 0174139

   (последний код) INST-CABLE-A

нет в наличии, поставок нет
5 0327166

Клемма, Кольцо (TERMINAL, Ring)

нет в наличии, поставок нет
6 0308808

Клемма, Knife (TERMINAL, Knife)

нет в наличии, поставок нет
7 0309437

Клемма, Flag (TERMINAL, Flag)

нет в наличии, поставок нет
7 3852084

   (последний код) TERMINAL,SID

нет в наличии, поставок нет
8 0581656

Клемма, Socket (TERMINAL, Socket)

нет в наличии, поставок нет
8 3852257

   (последний код) TERMINAL AY,SCKT

нет в наличии, поставок нет
9 0320107

Крепёжный хомут (TIE STRAP)

нет в наличии, поставок нет
9 5035626

   (последний код) BAND,REM CON

нет в наличии, поставок нет
10 0511990

Коннектор, 3 Socket Заглушка (CONNECTOR, 3 Socket plug)

нет в наличии, поставок нет
10 0511450

   (последний код) CONNECTOR

нет в наличии, поставок нет
11 0315072

SPLICE (SPLICE)

нет в наличии, поставок нет
12 0510817

Гильза (SLEEVE)

нет в наличии, поставок нет
13 0174744

CUTOFF Переключатель & DIODE (CUTOFF SWITCH & DIODE)

нет в наличии, поставок нет
14 0510780

Клемма, Кольцо (TERMINAL, Ring)

нет в наличии, поставок нет
14 3852226

   (последний код) TERMINAL,RIN

нет в наличии, поставок нет
15 0123975

Крышка (COVER)

нет в наличии, поставок нет
16 0327166

Клемма, Кольцо (TERMINAL, Ring)

нет в наличии, поставок нет
17 0316198

HEAT SHRINK Трубопровод (HEAT SHRINK TUBING)

нет в наличии, поставок нет
18 0327805

Гайка, Переключатель to bezel (NUT, Switch to bezel)

нет в наличии, поставок нет
18 0327971

   (последний код) NUT

нет в наличии, поставок нет
19 0432230

Зажим & LANYARD в сборе (CLIP & LANYARD ASSY)

нет в наличии, поставок нет
19 0393079

   (последний код) CAP-&-LANYAR

нет в наличии, поставок нет
20 0393301

Переключатель & Ключ (SWITCH & KEY)

нет в наличии, поставок нет
20 0508180

   (последний код) IGNITION SWITCH

нет в наличии, поставок нет
21 0306559

Винт, Ign. Переключатель term (SCREW, Ign. switch term)

нет в наличии, поставок нет
22 0125316

BEZEL, Ign. / choke Переключательes (BEZEL, Ign./choke switches)

нет в наличии, поставок нет
23 0125308

Винт, Bezel Креплениеing (SCREW, Bezel mounting)

нет в наличии, поставок нет
24 0317893

Крепёжный хомут (TIE STRAP)

нет в наличии, поставок нет
24 3852149

   (последний код) TIE-STRAP

нет в наличии, поставок нет
25 0332179

PUSH Ручка (PUSH KNOB)

нет в наличии, поставок нет
26 0304494

Зажим кабеля to boat (CLAMP, Cable to boat)

нет в наличии, поставок нет
27 0305009

Винт струбцины тросика to boat (SCREW, Cable clamp to boat)

нет в наличии, поставок нет
28 0316669

Струбцина, Loop Кабели to dash (CLAMP, Loop cable to dash)

нет в наличии, поставок нет
28 0319473

   (последний код) CLAMP

нет в наличии, поставок нет
29 0308335

Гайка, Винт зажимаs (NUT, Screw, clamps)

нет в наличии, поставок нет
30 0307190

Винт зажима to dash (SCREW, Clamp to dash)

нет в наличии, поставок нет
31 0306286

Винт зажима to dash & horn (SCREW, Clamp to dash & horn)

нет в наличии, поставок нет
32 0174836

HORN & Провод KIT (HORN & WIRE KIT)

нет в наличии, поставок нет
32 0585992

   (последний код) KIT-AY,HORN

нет в наличии, поставок нет
33 0583931

HORN ASSEMBLY (HORN ASSEMBLY)

нет в наличии, поставок нет
33 0585992

   (последний код) KIT-AY,HORN

нет в наличии, поставок нет
34 0512947

Клемма, Bullet (TERMINAL, Bullet)

нет в наличии, поставок нет
34 0910462

   (последний код) TERM.-60766-

нет в наличии, поставок нет
35 0513185

Гильза, Bullet Клемма (SLEEVE, Bullet terminal)

нет в наличии, поставок нет
35 0512948

   (последний код) SLEEVE

нет в наличии, поставок нет
36 0174964

LEAD в сборе., Horn to ign. Переключатель (LEAD ASSY., Horn to ign. switch)

нет в наличии, поставок нет
36 0174885

   (последний код) LEAD-AY

нет в наличии, поставок нет
37 0510780

Клемма, Кольцо (TERMINAL, Ring)

нет в наличии, поставок нет
37 3852226

   (последний код) TERMINAL,RIN

нет в наличии, поставок нет
38 0512876

Клемма, Socket (TERMINAL, Socket)

нет в наличии, поставок нет
38 3852244

   (последний код) TERMINAL,SOC

нет в наличии, поставок нет
39 0513186

Гильза, Внешняя розетка (SLEEVE, Receptacle)

нет в наличии, поставок нет
39 3852248

   (последний код) SLEEVE,SKT-B

нет в наличии, поставок нет
evinrude

Время выполнения запроса 1.703057050705 сек.


 
 

данный сайт носит информационный характер и не является публичной офертой

склад запчастей для водомоторной техники